KRONO 310 — комплект приводов для распашных ворот
Краткое описание KRONO 310
KRONO 310 — комплект приводов для распашных ворот
2 линейных самоблокирующихся привода. Специальный стальной крепеж, для створок ворот весом до 800кг и шириной до 3,0м, интенсивность использования 30%. В комплектацию входят два привода и блок управления.
Особенности KRONO 310
Надежность, проверенная временем.
Автоматическая система Krono 310, традиционно сочетающая максимальную прочность конструкции и бесшумность работы, приобретает новые, более современные функциональные характеристики.
Особые варианты дизайна, позволяют устанавливать и приспосабливать привод ворот к самым оригинальным архитектурным формам.
![]() | Микровыключатели крайних положений позволяют точно регулировать угол открытия и закрытия створки ворот. (электро- приводы KR510) | ![]() | Корпуса приводов ворот серии KRONO изготовлены из алюминия, что гарантирует максимальную прочность изделия. |
Технические характеристики KRONO 310
| Пределы использования | |
Ширина створки, м* | Масса створки, кг |
2,00 | 1000 |
2,50 | 800 |
3,00 | 600 |
4,00 | 500 |
5,00 | 400 |
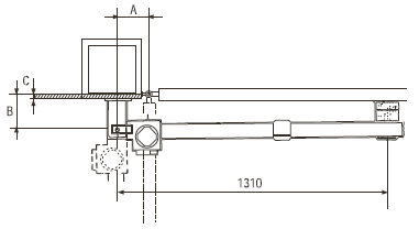
Габаритные размеры

Технические характеристики KRONO 310 | |
| Модель | KRONO 310 |
| Класс защиты | IP54 |
| Электропитание, В | ~220 (50/60 Гц) |
| Электропитание двигателя, В | ~220 (50/60 Гц) |
| Максимальный потребляемый ток, А | 1,1 |
| Максимальная мощность, Вт | 130 |
| Интенсивность использования, % | 30 |
| Тяговое усилие, Н | 400 - 3000 |
| Максимальная температура двигателя, °С | 150 |
| Время открывания (до 90°), с | 22 |
| Диапазон рабочих температур, °С | от -20 до +70 |
Установочные размеры | |||
Угол открывания | А, мм | В, мм | С макс, мм |
90° | 200 | 200 | 120 |
120° | 200 | 140 | 70 |

По наличию и вопросам приобретения KRONO 310, обращайтесь по телефону (495) 363-28-26 или отправьте нам .










